| electron Tube Data sheets |
|
| ||
| some Tube Bases |
| Base | Used by e.g. | Drawing |
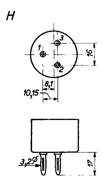
| H | 1803, 1823 |
|
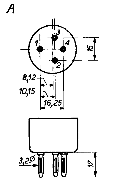
| A, B4 | 1651, 1805, PX4 |
|
| O, B5 | E499, KL1 |
|
| U, (B6?) | B2043 |
|
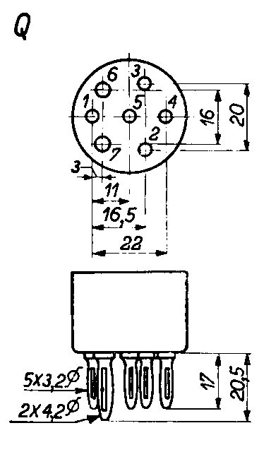
| Q | ? |
|
| B | E444, E453, E463, STV280/40Z |
|
| C | E449, ACH1, AK1 |
|
| D |
| |
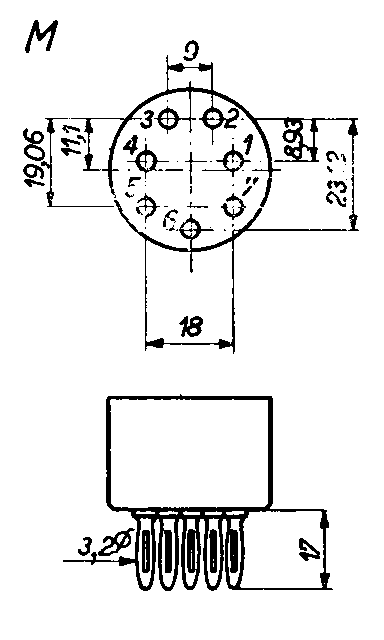
| M, B7 | SP2, 18013 to 18016 |
|
| B7A |
| |
| B9 | TP2620 |
|
| V | AB2, CB1, CB2, KB2 |
|
| W | 4624, 4641, 4646, O60/1200 |
|
| P, 8SC, SC8, 8A | 4699, AZ1, AD1, EF9, EL6, EL51 |
|
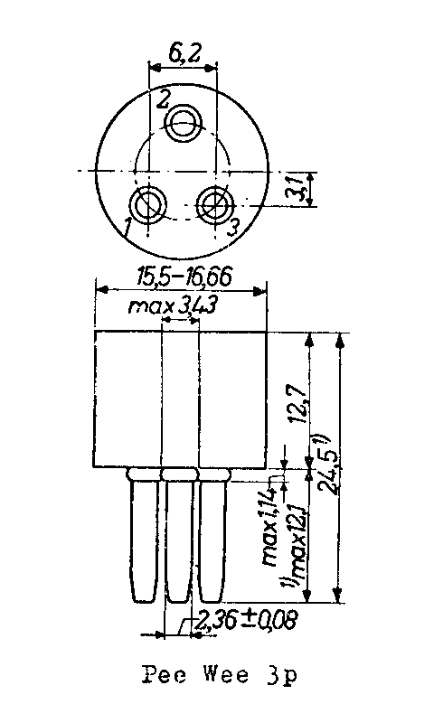
| Pee Wee 3-pin |
| |
| SM4, Hivac 4-pin | 4662 ? |
|
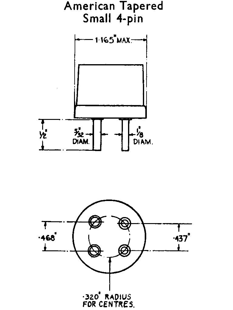
| UX4, Small 4-pin |
| |
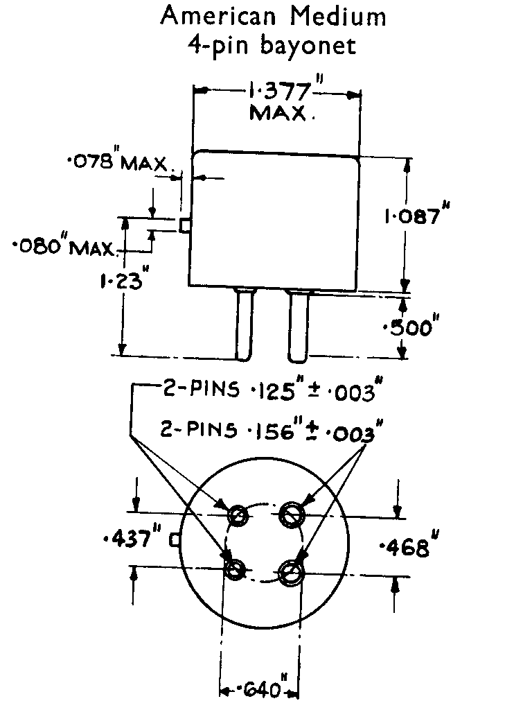
| G, Medium 4-pin |
| |
| Medium 4-pin with Bayonet |
| |
| Large 4-pin with Bayonet |
| |
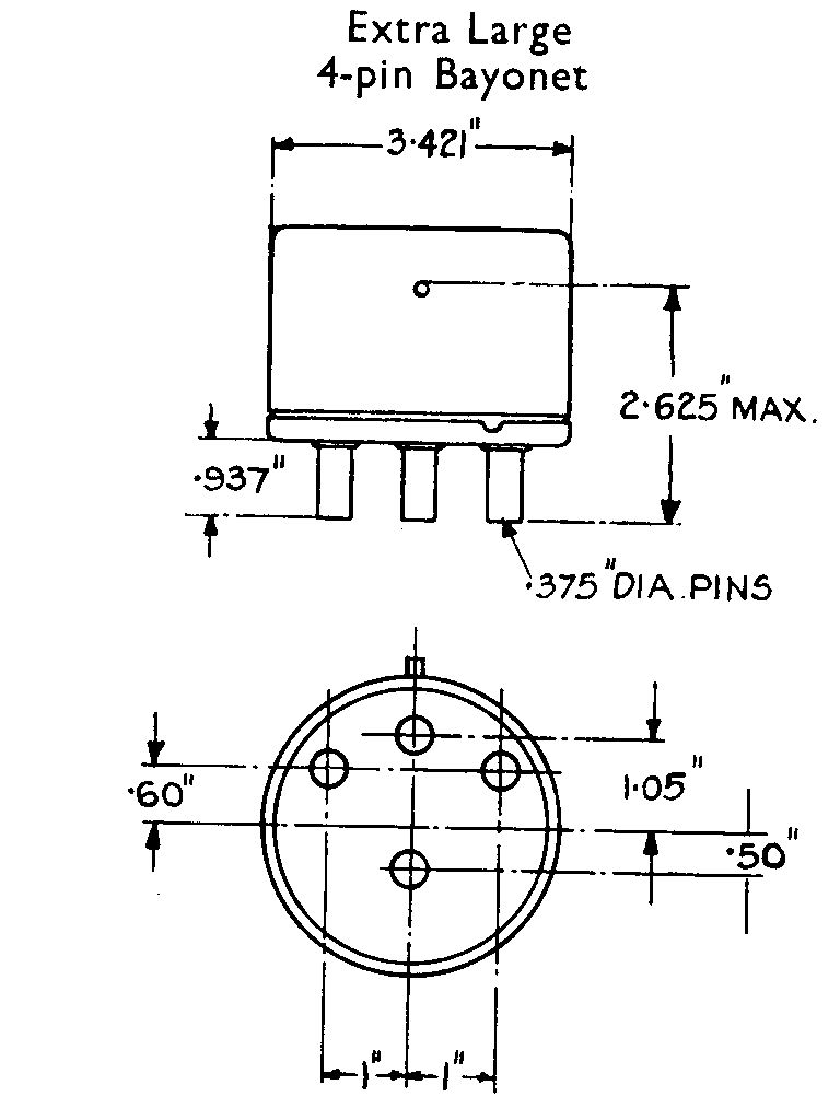
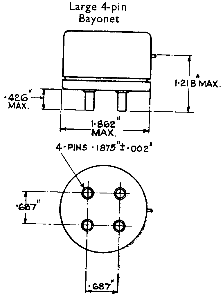
| Extra Large 4-pin with Bayonet |
| |
| Jumbo 4-pin with Bayonet |
| |
| Super Jumbo 4-pin with Bayonet |
| |
| SM5, Hivac 5-pin |
| |
| UX5, Small 5-pin |
| |
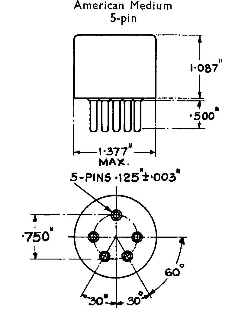
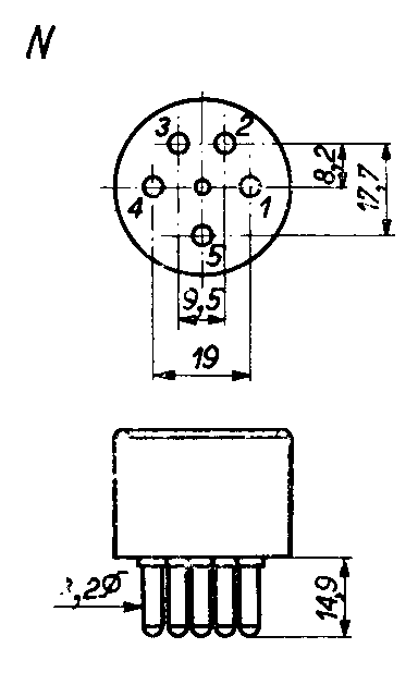
| N, Medium 5-pin | 807 |
|
| UX6, Small 6-pin |
| |
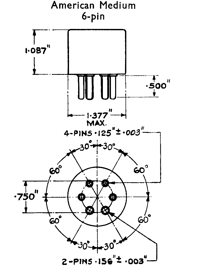
| J, Medium 6-pin |
| |
| SM7 |
| |
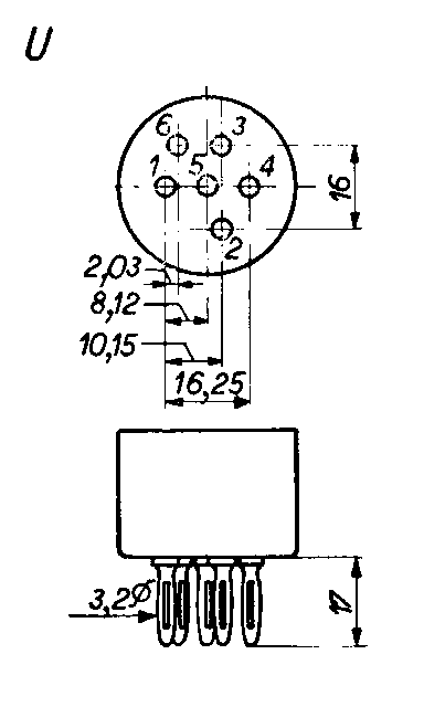
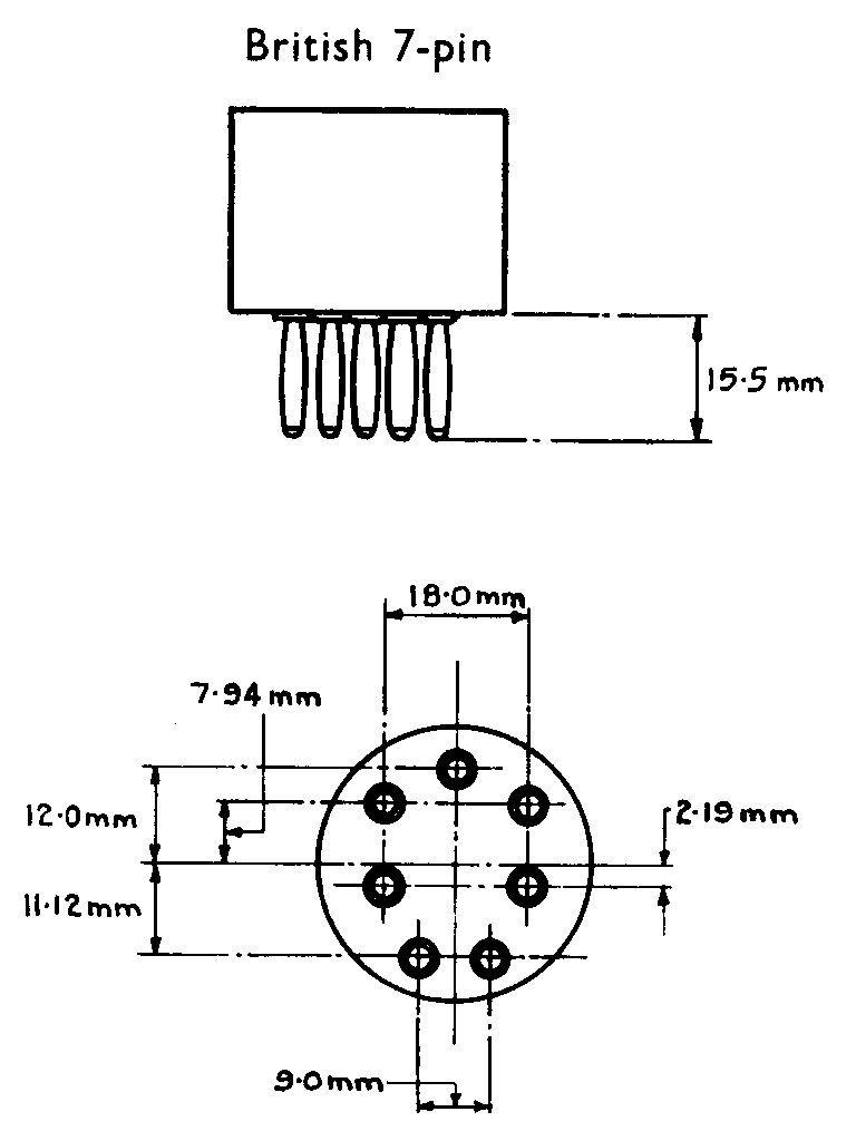
| UX7, Small 7-pin |
| |
| E, Medium 7-pin | PE06/40E |
|
| K8A, A08, IO, International Octal (IEC 67-I-5a) | 6L6, EL34, EM34 |
|
| Submagnal 11-pin | 1P28 | |
| B08, M08, MO, Mazda Octal | ATP4, SP61, VR65 |
|
| Y, Y8A, G8A, F8, Stahl 8 | EF11 |
|
| G10A, Stahl 10 | EL156, UEL51 |
|
| Septar |
| |
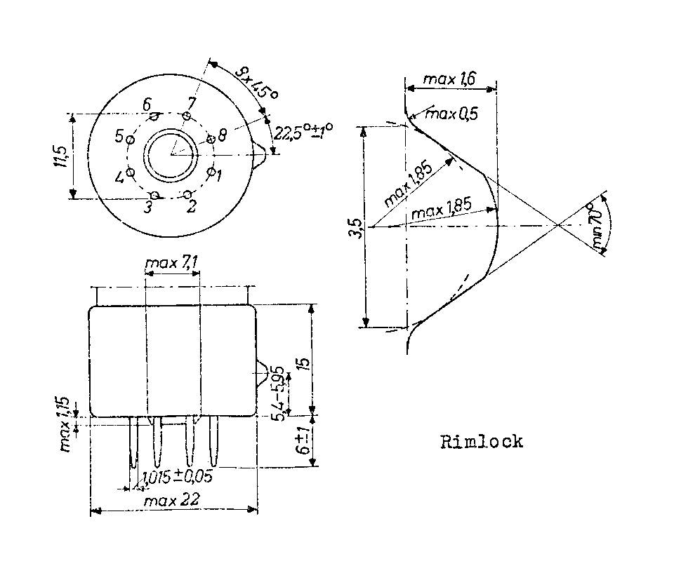
| A8A, B8A, Rimlock | AZ41, ECC40, EF40, EL41, UAF42, 6F15 |
|
| B8B, B8G, W8A, Loctal | C3m, EBL21, ECH21, EF22, EM71 |
|
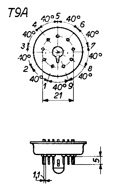
| T9A, B9G, Loctal 9p | EE50, EF50, EF54, EF55, EFF50, TT15 |
|
| C2R, Enne-al | EF53, EFF51, EL60, EW60 |
|
| B7G, Miniature 7-pin (IEC 67-I-10a) | DL96, EL95, 6AU6 |
|
| B9A, Noval (IEC 67-I-5a) | 12AU7, E81L, ECC83, EF80, EL84 |
|
| Decal, B10B, Miniature 10-pin (JEDEC E10-61) | ECH200 |
|
| B9D, Magnoval (JEDEC E9-23), Novar (JEDEC E9-75) (Serial numbers for Novar based tubes are from 520 upwards) | EL503, PL519 |
|
| usm4b | ||
| BC4 |
| |
| G4b, VX4 | 4606, 18004 |
|
| Acorn, 5AA, 7AA |
| |
| B8D, Sub Miniature 8-pin |
| |
| Nuvistor | 13CW4 |
|
| B2A |
| |
| B3G |
| |
| B5A |
| |
| B5B |
| |
| G10G | FL152 |
|
| B11A |
| |
| Duodecal, B12A | E1T |
|
| B13B | ZM1040 | |
| B14A |
| |
| G9 |
| |
| W3 |
| |
| W4 |
| |
| W6 |
| |
| W7 |
| |
| W8 |
| |
| W13 |
| |
| WA3 |
| |
| WA5 |
| |
| WA6 |
| |
| WA8 |
| |
| WB5 |
| |
| WB6 |
| |
| WB8 |
| |
| WC5 |
| |
| WC8 |
| |
| WF8 |
|